《白荆回廊》旧友无多烙痕效果一览
作者:来源网络 来源:网络> 时间:2024-09-07 00:00:00
白荆回廊旧友无多烙痕图鉴有什么效果?旧友无多是《白荆回廊》中的一张烙痕卡,那么它有什么效果,能够提供哪些加成呢?接下来就由小编给大家带来了详细的《白荆回廊》旧友无多烙痕效果一览,希望这篇文章可以帮到大
白荆回廊旧友无多烙痕图鉴有什么效果?旧友无多是《白荆回廊》中的一张烙痕卡,那么它有什么效果,能够提供哪些加成呢?接下来就由小编给大家带来了详细的《白荆回廊》旧友无多烙痕效果一览,希望这篇文章可以帮到大家!
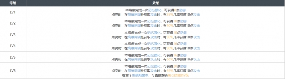
《白荆回廊》旧友无多烙痕效果一览:
1.烙痕特质
2.漫巡技能
3.烙痕唤醒
以上就是整理带来的旧友无多烙痕效果一览,更多相关游戏攻略,请关注!
- 上一篇: 《保卫萝卜4》法老归来第47关通关攻略
- 下一篇: 没有了


